在线客服:

销售一部:
点击这里给我发消息

销售二部:
点击这里给我发消息

销售三部:
点击这里给我发消息

技术服务:
点击这里给我发消息

阿里旺旺在线客服:销售在线客服 

意大利OMAL 专业连接器 阀用插头生产商意大利OMAL 专业连接器 阀用插头生产商

首 页 公司简介 产品介绍 品牌导航 资料下载 联系我们
 
 
OMAL连接器
 A型 DIN43650A接线盒
 B型气动阀接头
 C型阀插头
 A型方形底座
 A型圆形底座
 带注塑电缆连接器
 RS磁性开关
 RS3I RS3T磁性开关
 带注塑电缆连接器
 OMAL A型转M12 M8
 阀插头转M12和M8圆形连接器
 

产品目录 >> OMAL >> C型压力变送器插头

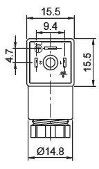
OMAL C型压力变送器插头

变送器插头 变送器插头尺寸C型接线盒8mm针距C型接线盒C型接线盒9.4mm针距

DIN43650C变送器插头 黑色和透明带LED灯 8mm和9.4mm针距 2+PE 3+PE 24VDC 220AC

产目参数:出线口:PG7 最大电流:10A 工业标准 IP65 DIN40050

插头接地位置

可选择接地位置

接线盒用平垫或包垫

可选择平垫或包垫

OMAL 小型阀用连接器常用型号:

C1B0716A C1B0717A C1G0716A C1G0716A C1B0712A C1B0713A C1G0712A C1G0713A C1T0712HR

C1T0716GR C1T0716HR C1T0716JR C1T0716KR C1T0716MR C1T0716NR C1T0716BR C1T0716CR C1T0716L

C1T0712JR C1T0712KR C1T0712MR C1T0712NR C1T0712BR C1T0712CR C1T0712L C1T0712GR

 

 

 

 
                           南京库克自动化设备有限公司 @ 2004-2019 版权所有 复制必究
              经营许可证号:      地址:南京市浦口区大桥北路48号 联系人:陈经理
               苏ICP备11070728号    电话:025-85549526 85541253 手机:15805186368(微信同号)
                           传真:025-85542773